Каталог
Каталог Написать в WhatsApp
Мотоэкипировка

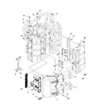
Глушитель шума впуска 4-Х ТАКТНОГО ПЛМ MERCURY 115 Серийный номер от 10T801000 до 1B226999

Глушитель шума впуска 4-Х ТАКТНОГО ПЛМ MERCURY 115 Серийный номер от 10T801000 до 1B226999 в Нижнем Новгороде: актуальный каталог, цены, фото, описание. Купите глушитель шума впуска 4-х тактного плм mercury 115 серийный номер от 10t801000 до 1b226999 в кредит – оформите заявку онлайн за 1 минуту!

Оригинальные запчасти

Артикул НАИМЕНОВАНИЕ Кол-во деталей в узле Примечание Наличие Цена Аналоги Фото
1 881436T INTAKE SILENCER

Под заказ

1

Под заказ

уточнить

Купить
2 880882T THERMOSENSOR

Под заказ

1

Под заказ

уточнить

Купить
3 881437 O-RING

Под заказ

4

Под заказ

уточнить

Купить
4 804165 BOLT, (M6 x 16)

Под заказ

6

Под заказ

уточнить

Купить
5 881816 BOLT, (M8 x 20)

Под заказ

2

Под заказ

уточнить

Купить
6 881439 BRACKET

Под заказ

1

Под заказ

уточнить

Купить
7 8M0059034 BRACKET

Под заказ

2

Под заказ

уточнить

Купить
8 881435 BOLT, (M6 x 20)

Под заказ

8

Под заказ

уточнить

Купить
9 892849 INDUCTION SILENCER

Под заказ

1

Под заказ

уточнить

Купить
10 881269 MOUNTING BRACKET

Под заказ

1

Под заказ

уточнить

Купить
11 804160 PIN

Под заказ

2

Под заказ

уточнить

Купить
12 881433 GASKET

Под заказ

1

Под заказ

уточнить

Купить
13 804162 BREATHER PIPE

Под заказ

1

Под заказ

уточнить

Купить
14 804163 CLAMP

Под заказ

2

Под заказ

уточнить

Купить
15 804602 BOLT, (M6 x 12)

Под заказ

2

Под заказ

уточнить

Купить
16 804089 CLIP

Под заказ

1

Под заказ

уточнить

Купить
17 56762 STA-STRAP, WIRES

Под заказ

1

Под заказ

уточнить

Купить
18 881438 BOLT, (M6 x 105)

Под заказ

2

Под заказ

уточнить

Купить
19 881431 BOLT, (M8 x 40)

Под заказ

5

Под заказ

уточнить

Купить
20 881822 SCREEN

Под заказ

1

Под заказ

уточнить

Купить
21 858732T02 GASKET SET, Powerhead

Под заказ

1

Под заказ

уточнить

Купить
22 881421T04 POWERHEAD ASSEMBLY

Под заказ

1

Под заказ

уточнить

Купить

Нулевая цена не означает отсутствие товара. Оформите заказ, и менеджер сообщит вам цену и наличие товара, предварительно запросив их у поставщика

Главная Магазины
Корзина0
Профиль